Kontakt     zur Hauptseite     zurück / retour / indietro / atras / back

Die schräge, fahrradfreundliche (velofreundliche) Parkplatzordnung

Parkplatzanordnung velofreundlich - rollstuhlfreundlich - fussgängerfreundlich - Autoverkehr verlangsamend - mit minimiertem Unfallrisiko

Velofreundliche
              Parkplatzordnung: Anordnung der Parkplätze schräg im
              30-Grad-Winkel

von Michael Palomino (2003 / 2006)

Teilen:

Facebook







Basel 26.5.2003: Autotür killt Velofahrerin
"Tödlicher Unfall. Bei einem Verkehrsunfall letzten Freitag erlitt eine Velofahrerin schwere Verletzungen, denen sie am Samstag erlag. Die Radfahrerin kollidierte in der Inneren Margarethenstrasse mit der Wagentür eines parkierten Autos. Der PW-Lenker hatte sein Fahrzeug in Fahrtrichtung Heuwaage [im Parkverbot gegenüber der Polizeiwache] abgestellt. Als er die Wagentür öffnete, stiess er gegen die Radfahrerin, welche die Strasse entlang fuhr. Die 29-Jährige wurde ins Kantonsspital gebracht. Dort verstarb sie am Samstag an den Folgen ihrer Verletzungen."
Baslerstab, 26.5.2003, S.3

Das Problem Autotüre" ist also für VelofahrerInnen und RadfahrerInnen tödlich. Aber komischerweise ist das Problem "Autotüre" in den Normen für Strassenbauten des VSS nicht einmal erwähnt! Dies sei mit diesem Werk nachgeholt.


Schrägparkplätze mit Wegen: Beispiel aus Santiago de Chile

In Santiago de Chile konnte beobachtet werden, wie Schrägparkplätze mit Rasen und Wegen gebaut wurden, so dass keine Fahrradfahrer gefährdet sind und der Rasen intakt gleichzeitig mehr oder weniger bleibt.

Santiago de Chile, Valdivia-Allee,
                  Schrägparkplätze mit Rasen und Wegen
Santiago de Chile, Valdivia-Allee, Schrägparkplätze mit Rasen und Wegen


Inhalt

Kommentar

Technische Hinweise

1. Autoparkplätze schräg (55°) zur Strassenfahrbahn rechts (Einbahn)

2. Autoparkplätze schräg (34°) zur Strassenfahrbahn rechts (Einbahn)

3. Autoparkplätze schräg (34°) zur Strassenfahrbahn links (Einbahn)
+ erhöhte Velowege links und rechts auf breiten Trottoirs

4. Autoparkplätze schräg (34°) zur Strassenfahrbahn rechts (Einbahn)
+ erhöhte Velowege links und rechts auf breiten Trottoirs

5. Autoparkplätze schräg (34°) zur Strassenfahrbahn rechts (Einbahn)
+ erhöhter Veloweg rechts auf breitem Trottoir, + Velostreifen links

 6. Autoparkplätze schräg (34°) zur Strassenfahrbahn links (Einbahn)
+ Velostreifen rechts, + erhöhter Veloweg links auf breitem Trottoir

7. Autoparkplätze schräg (34°) zur Strassenfahrbahn rechts (Einbahn)
mit Balkenbegrenzung
+ Velostreifen zwischen Parkplätzen und Trottoir, + Velostreifen links

8. Autoparkplätze schräg (34°) zur Strassenfahrbahn rechts (Einbahn)
mit Balkenbegrenzung
+ Velostreifen rechts zwischen Parkplätzen und Trottoir
+ erhöhter Veloweg links auf breitem Trottoir

9. Autoparkplätze schräg (34°) in Doppelreihe in Strassenmitte mit Balkenbegrenzung
+ erhöhtere Velowege links und rechts auf breiten Trottoirs
mit Kante 2cm

10. Autoparkplätze schräg (34°) zur Strassenfahrbahn (Einbahn)
mit Versatz rechts - links
+ erhöhte Velowege auf breiten Trottoirs rechts und links

11. Autoparkplätze schräg (34°) zur Strassenfahrbahn (Einbahn)
mit Versatz rechts - links
+ erhöhte Velowege auf breiten Trottoirs rechts und links

12. Fussgängerstreifen und Übergangslücke bei Einbahn
mit schrägen Autoparkplätzen rechts (34°)
+ erhöhte Velowege auf breiten Trottoirs rechts und links

13. Fussgängerstreifen und Übergangslücke bei Einbahn
mit schrägen Autoparkplätzen rechts (34°)
+ erhöhte Velowege auf breiten Trottoirs rechts und links

Kommentar


Bis zum heutigen Zeitpunkt ist die Gefahr, die von parkierenden Autos gegenüber dem leichten Zweiradverkehr durch plötzlich sich öffnende Autotüren ausgeht, in keiner "Schweizer Norm" des VSS festgehalten ("Schweizer Norm" SN 640 291, April 1982: Parkieren. Geometrie; SN 640 292, Februar 1996: Parkieren. Anordnung; Vereinigung schweizerischer Strassenfachleute VSS, Seefeldstrasse 9, 8008 Zürich).

In dieser kleinen Arbeit wird die Gestaltung des Strassenraums mit Autoparkplätzen, Trottoirs und Velostreifen bzw. Velowegen auf breiten Trottoirs analysiert. Die Risiken der Konfrontationen der verschiedenen VerkehrsteilnehmerInnen werden in Stufen von 0 (kein Risiko) bis 10 (hohes bis tödliches Risiko) bewertet.

Kriterien sind:

- die Parkiermanöver, die den Verkehr mehr oder weniger blockieren
- die Autotüren, die bei unkontrolliertem Öffnen für den leichten Zweiradverkehr eine tödliche Gefahr darstellen können
- die Fussgängerdurchlässigkeit der Parkieranordnung
- die allgemeinen Gefährdungen der verschiedenen VerkehrsteilnehmerInnen auf gemeinsamer Fahrbahn, sowie
- der mehr oder weniger bequeme Ausstieg aus dem parkierten Auto.

Ziel war es, eine Raumaufteilung zu finden, die eine Trennung zwischen Velo- und AutofahrerInnen zulässt, mit hindernislosen Velostreifen oder mit erhöhten Velowegen mit Bäumen als Trennmarkierung zwischen Velo- und Fussgängerverkehr, sowie ein optimal leichtes Parkiermanöver für AutofahrerInnen. Es hat sich gezeigt, dass eine schräge Parkplatzanordnung in spitzem Winkel diese Kriterien am ehesten erfüllt. Wenn Velowege vorhanden sind, so ist der Veloverkehr auch von Zickzack-Anordnungen der Autoparkplätze nicht mehr betroffen.

Des weiteren wurden zwei Beispiele erarbeitet, wie Fussgängerübergänge und Fussgängerstreifen im Zusammenhang mit Velowegen und Velostreifen gestaltet werden können.


Technische Hinweise

Die Parkplatzanordnungen habe ich nur für die Einbahnstrassen erarbeitet, können aber auch in Zweirichtungsstrassen Anwendung finden.

Als Mass wurde ein Parkplatz von 3mal 5-6m angenommen, sowie meist eine Fahrbahn von 4m Breite, erhöhte Velowege von 2m Breite, Velostreifen von 1,5m Breite, Trottoirs für Fussgängerverkehr von 3m Breite, und Baumrabatten von 1 auf 2 m. Die Häuschen auf dem Papier entsprechen somit dem Metermass. Gemäss "Schweizer Norm" SN 640 291 (S.3) kann die Fahrbahnbreite bei Schräg-Parkplätzen im Winkel von 30° auf 3m reduziert werden, und der Abstand zwischen Trottoir und Parkplatz-Aussenbegrenzung reduziert sich auf 4,1m. Somit sind Schrägparkplätze ab einer Fahrbahnbreite von 7,1m realisierbar, v.a., wenn erhöhte Velowege auf breiten Trottoirs möglich sind.


Parkplätze parallel zur Fahrbahn
Parkplatzanordnung längs der Fahrbahn
                        untauglich wegen Autotüren und Parkiermanöver Parkplatzanordnung längs der Fahrbahn untauglich wegen Autotüren und Parkiermanöver.

Parkplätze parallel zur Fahrbahn brauchen viel Platz für das Einparken, gemäss "Schweizer Norm" SN 640 291 (S.2) 6m, und bergen grosse Gefahren durch die Autotüren, die VelofahrerInnen dramatisch gefährden. Nur wenn die VelofahrerInnen auf einem breiten Trottoir fahren und das parkierende Auto in Sichtkontakt zur VelofahrerIn steht, ist die Gefahr der Autorür-Konfrontation nicht mehr gross. Parkplätze parallel zur Fahrbahn sind aber auch nachteilig durch die Länge des Parkiermanövers, so dass nachfolgende AutofahrerInnen warten müssen, ungeduldig werden und danach viel zu schnell fahren, weil sie meinen, sie müssten verlorene Zeit "aufholen". Nur für das Wenden nach dem Ausparkieren sind Parkplätze parallel zur Fahrbahn ein Vorteil durch einen um 2m erweiterten Wendekreis.


Parkplätze in Blockaufstellung
Parkplatzanordnung in Blockaufstellung
                        untauglich: Viel ungenutzter Raum, Autotüren Parkplatzanordnung in Blockaufstellung untauglich: Viel ungenutzter Raum, Autotüren.


Parkplätze quer zur Fahrbahn

Parkplatzanordnung im rechten Winkel zur
                        Fahrbahn sind untauglich, Parkiermanöver,
                        schlechter Ausstieg, keine Durchlässigkeit für
                        FussgängerInnen Parkplatzanordnung im rechten Winkel zur Fahrbahn sind untauglich, Parkiermanöver, schlechter Ausstieg, keine Durchlässigkeit für FussgängerInnen.

Parkplätze quer zur Fahrbahn bergen ebenfalls ein gefährliches Parkiermanöver in sich, das fast immer auf die Gegenfahrbahn ausgeweitet werden muss. Auch hier müssen nachfolgende AutofahrerInnen z.T. lange warten, werden ungeduldig und fahren danach viel zu schnell, weil sie meinen, sie müssten verlorene Zeit "aufholen". Zudem ist der Ausstieg aus dem parkierten Auto sehr eng, so dass behinderte Menschen diese Parkplätze nie benutzen können.


Parkplätze in grossem Winkel von 60° schräg zur Fahrbahn

Parkplatzanordnung schräg im
                        60-Grad-Winkel Parkplatzanordnung schräg im 60-Grad-Winkel.




Parkplätze in spitzem Winkel von 30-35° schräg zur Fahrbahn

Parkplatzanordnung schräg im
                        30-Grad-Winkel Parkplatzanordnung schräg im 30-Grad-Winkel.



Parkplätze in spitzem Winkel von 30-35° erscheinen als die optimale Parkplatzanordnung,

- weil die geöffneten Autotüren keine VelofahrerInnen gefährden
- weil das Parkmanöver mittel bis leicht zu bewältigen ist
- weil die Auto-Insassen weiten Platz zum Aussteigen haben, wobei der Platz zum Aussteigen nicht durch nachfolgende Autos oder Velos beansprucht wird
- weil Nachbarautos durch Autotüren nicht mehr verkratzt werden können.

Es ist dabei nicht zu umgehen, dass bei den neuen Parkieranordnungen lautlose VelofahrerInnen auf der Trottoirseite immer wieder AutofahrerInnen überraschen, bis man sich an die neue Anordnung gewöhnt hat. Aber für diese Fälle haben VelofahrerInnen ja funktionierende Glocken am Velo. Die AutofahrerInnen müssen die Strassen zudem vorsichtig durchfahren, um andere Autos nicht zu beschädigen. Der riesige Vorteil der spitzwinklig schräg angeordneten Parkplätze besteht aber darin, dass durch das leichte Aussteigen jeder Parkplatz BEHINDERTENFREUNDLICH wird, vorausgesetzt, der Belag ist Plattenbelag oder Schwarzbelag und die Trottoirkanten betragen nur 2-3cm, am besten abgeschrägt. Der Überhang beim Randstein wird mit 20-30cm fast vernachlässigbar, beim Anbringen von Balkenbegrenzungen auf 0 reduzierbar. Es wird aber auch keine AutofahrerIn das Auto bis an die Trottoirkante hin parkieren, weil dadurch hinter dem Auto fast so viel Platz frei wird, dass ein kleines Auto dahinter noch parkiert werden könnte. Es schliesst sich also niemand freiwillig selber ein.

Wenn man alle Vorteile der Schrägparkplätze in spitzem Winkel in Betracht zieht, so möchte ich daran appellieren, solche an allen breiten Einbahnstrassen zu markieren, mit Gegenverkehr des Zweiradverkehrs, sowie in Parkhäusern und anderen Parkieranlagen.


Bäume trennen Fussgänger und Velos - VeloraserInnen

Gleichzeitig schlage ich die regelmässige Baumpflanzung zwischen Fussgängerweg und Veloweg vor, so dass die Bäume in regelmässigem Abstand die Trennung der Räume markieren. Dieses System funktioniert in Freiburg i.Br. ohne Zwischenfälle (Kartäuserstrasse). Wenn diese Trennung noch nicht als ausreichend erscheint, so ist es möglich, mit einer abgeschrägten, aber markanten Kante von 2-3cm den erhöhten Veloweg vom Fussgängerbereich zusätzlich zu trennen (Wettsteinbrücke, Basel). Somit wäre auch allen sehbehinderten und blinden Menschen Rechnung getragen. Allfällige VeloraserInnen, denen ein erhöhter Veloweg nicht passt, können auf der Fahrbahn fahren, da die Autos sowieso langsam fahren müssen, da sonst Gefahr der Beschädigung der parkierten Autos besteht. Diese VeloraserInnen nehmen aber auf eigenes Risiko die Blockade und Unfälle durch Auto-Parkmanöver in Kauf. Insofern ist der erhöhte Veloweg auch bei vermindertem Tempo der VeloraserInnen immer noch die schnellste Lösung. Im Grunde sind aber asoziale VeloraserInnen Fälle für einen Soziologie-Nachkurs bei der Polizei.

Bäume sollten nicht in die Zwischenräume der Autos gepflanzt werden, weil dadurch die Behindertenfreundlichkeit der Parkplätze beeinträchtigt wird.


Doppelreihen schräger Parkplätze

Wenn schräge Parkplätze in Doppelreihen in der Mitte einer Strasse angeordnet werden, so geht der leichte Ein- und Ausstieg ins Auto z.T. verloren und die Durchlässigkeit für Fussgänger sinkt.


Ineffizienter Links-Rechts-Versatz und Zickzack-Anordnung

Wer der These Glauben schenkt, dass AutofahrerInnen in engen Strassen langsamer fahren, kann mit schrägen Parkplätzen die Strassenfahrbahn einengen, eventuell noch Links-Rechts-Versatz oder Zickzack-Versatz anbringen. Der Veloverkehr kann beidseits getrennt geradeaus laufen.

Die Erfahrung hat jedoch gezeigt, dass RaserInnen sich bei Zickzack-Anordnungen einen Spass daraus machen, bei vollem Risiko Vollgas in den engen Kurven zu geben. Insofern haben die Versetzungen keinen grossen Sinn, sondern bringen nur überflüssigen, zusätzlichen Stress. Tempobefolgung bringt erfahrungsgemäss oft nur die scharfe Radarkontrolle und Nachkurse in Soziologie bei der Polizei.


Erhöhte Fussgängerstreifen

können nur positive Wirkung haben, indem RollstuhlfahrerInnen und Behinderte sie stufenlos benutzen können und Auto-RaserInnen dadurch abgebremst werden. Fussgängerinseln zwischen Auto- und Veloverkehr mit verschieden steilen Schwellen entstressen zudem die Gesamtsituation am Fussgängerstreifen auf ein Minimum.

Profilvarianten für das Anlegen von erhöhten Velowegen / Fahrradwegen
Profilvarianten für Velowege / Fahrradwege
Auto / Lkw mit schnellen Velos - langsame bis mittlere Velos - Fussgängerverkehr

Veloweg mit hoher senkrechter Kante zur Strasse hin, mit schräger Kanten 3-5 cm zwischen Veloweg und Fussgängerbereich, rollstuhlfreundlich




Veloweg mit abgeschrägten Kanten, rollstuhlfreundlich, sehr flexibel

Veloweg mit abgeschrägten Kanten mit Baumreihe als Abgrenzung zwischen Veloweg und Fussgängerbereich

Veloweg mit abgeschrägten Kanten mit Baumreihe als Abgrenzung zwischen Veloweg und Fussgängerbereich, zusätzlich mit Längsrinne von Baum zu Baum zur Betonung der Abgrenzung und auch als taktile Abgrenzung für Sehbehinderte

zusätzlich Balkenbegrenzung für Parkplätze (Frankreich)





Profilvarianten für Velowege / Fahrradwege.


Die verschiedenen Parkplatzanordnungen

1. Autoparkplätze schräg (55°) zur Strassenfahrbahn rechts (Einbahnstrasse)

Strassenbreite: 18 Einheiten
Anzahl Parkplätze 12

Parkplatzanordnung schräg im 55-Grad-Winkel
                        in Einbahnstrasse auf der rechten Seite
Parkplatzanordnung schräg im 55-Grad-Winkel in Einbahnstrasse auf der rechten Seite.
1. Autoparkplätze schräg (55°) zur Strassenfahrbahn rechts (Einbahn)

Parkiermanöver schwer: 8: Das Parkiermanöver ist nicht leicht, weil man zum Überwinden des vorherstehenden Autos eventuell die ganze Strassenbreite beansprucht, so dass z.T. sogar die VelofahrerInnen in Gegenrichtung blockiert werden.

 Parkiermanöver blockiert Autoverkehr: 8: relativ lange Blockade möglich.

Parkiermanöver blockiert Veloverkehr: 8: relativ lange Blockade möglich.

Parkiermanöver blockiert Veloverkehr in Gegenrichtung: 4: "Ausholen" für Parkiermanöver ist oft nötig.

Autotür als Gefahr für Velos: 0: VelofahrerInnen sind durch Autotüren parkierender Autos nicht gefährdet.

Fussgängerdurchlässigkeit wenig: 6: Die Parkieranordnung bietet nur eine geringe Durchlässigkeit für Fussgänger.

Autos - Velos: 10: VelofahrerInnen sind durch Autos in derselben Richtung und durch Autos, die aus Parkfeldern heraus rückwärts herausmanövrieren, extrem gefährdet.

Autos - Velos in Gegenrichtung: 10: VelofahrerInnen in Gegenrichtung sind gefährdet durch das "Ausholen" beim Parkiermanöver, und durch ungeduldige Autos, die das Auto im Parkiermanöver überholen.

Aussteigen: 4: Gleichzeitig kann ein Teil der Autoinsassen nur auf engem Raum das parkierte Auto verlassen.

Tabelle: Bilanz der Gefährdungen bei schrägen Autoparkplätzen im Winkel von 55°
Gefährdungen bei Manövern


Gefährdungen der Verkehrsteilnehmer untereinander

Parkiermanöver schwer
8

Fussgänger - Auto 0
Parkiermanöver blockiert Autoverkehr
8

Fussgänger - Velo / Fahrrad 0
Parkiermanöver blockiert Veloverkehr / Fahrrad
8

Auto - Velo / Fahrrad 10
Parkiermanöver blockiert Veloverkehr / Fahrrad in Gegenrichtung
4

Auto-Velo / Fahrrad in Gegenrichtung 10



Aussteigen aus parkiertem Auto: z.T. eng 4
Autotüren als Gefahr für Velos / Fahrrad
0

Fussgängerdurchlässigkeit: wenig 6
Autotüren als Gefahr für Velos in Gegenrichtung
0






total Negativpunkte
58








Behindertenparkplatz: nicht integrierbar
-


2. Autoparkplätze schräg (34°) zur Strassenfahrbahn rechts (Einbahnstrasse)

Strassenbreite: 16 Einheiten
Anzahl Parkplätze: 10,5

Parkplatzanordnung schräg im 34-Grad-Winkel
                        in Einbahnstrasse auf der rechten Seite
Parkplatzanordnung schräg im 34-Grad-Winkel in Einbahnstrasse auf der rechten Seite.
2. Autoparkplätze schräg (34°) zur Strassenfahrbahn rechts (Einbahn)

Parkiermanöver leicht: 2: Das Parkiermanöver ist leicht, weil der Winkel nur ca. 30-35° beträgt und das Parkfeld dadurch sehr einsichtig wird. Ein "Ausholen" über die ganze Fahrbahn ist  kaum noch nötig.

Parkiermanöver blockiert Autoverkehr: 2: Die nachfolgenden Autos müssen eine kurze Blockade beim Parkiermanöver in Kauf nehmen.

Parkiermanöver blockiert Veloverkehr: 4: durch kurze Parkiermanöver relativ kurze Blockade.

Parkiermanöver blockiert Veloverkehr in Gegenrichtung: 2: "Ausholen" für Parkiermanöver ist kaum noch nötig.

Autotür als Gefahr für Velos: 0: VelofahrerInnen sind durch Autotüren parkierender Autos nicht gefährdet.

Fussgängerdurchlässigkeit: 3: FussgängerInnen müssen nur noch ca. 1m zwischen den parkierten Autos überwinden.

Autos - Velos: 10: VelofahrerInnen sind durch Autos in derselben Richtung und durch Autos, die aus Parkfeldern heraus rückwärts herausmanövrieren, extrem gefährdet.

Autos - Velos in Gegenrichtung: 8: VelofahrerInnen in Gegenrichtung sind kaum gefährdet durch das "Ausholen" beim Parkiermanöver, aber dafür durch ungeduldige Autos, die das Auto im Parkiermanöver über den Velostreifen überholen oder überholen wollen.

Aussteigen: 0: Alle Autoinsassen der geparkten Autos haben genug Platz zum sicheren Aussteigen.

Tabelle: Bilanz der Gefährdungen bei schrägen Autoparkplätzen im Winkel von 34°
Gefährdungen bei Manövern


Gefährdungen der Verkehrsteilnehmer untereinander

Parkiermanöver leicht
2

Fussgänger - Auto 0
Parkiermanöver blockiert Autoverkehr kaum
2

Fussgänger - Velo / Fahrrad 0
Parkiermanöver blockiert Veloverkehr / Fahrrad wenig
4

Auto - Velo / Fahrrad 10
Parkiermanöver blockiert Veloverkehr / Fahrrad in Gegenrichtung wenig
4

Auto-Velo / Fahrrad in Gegenrichtung 8



Aussteigen aus parkiertem Auto: leicht 0
Autotüren als Gefahr für Velos / Fahrrad
0

Fussgängerdurchlässigkeit eher hoch 3
Autotüren als Gefahr für Velos in Gegenrichtung
0






total Negativpunkte
31








Behindertenparkplatz: integrierbar
+


3. Autoparkplätze schräg (34°) zur Strassenfahrbahn links (Einbahnstrasse)
+ erhöhte Velowege links und rechts auf breiten Trottoirs


Strassenbreite: 20 Einheiten
Anzahl Parkplätze: 10,5
Parkplatzanordnung schräg im 34-Grad-Winkel
                        in Einbahnstrasse auf der linken Seite, plus
                        erhöhte Velowege / Fahrradwege links und rechts
Parkplatzanordnung schräg im 34-Grad-Winkel in Einbahnstrasse auf der linken Seite, plus erhöhte Velowege / Fahrradwege links und rechts.
3. Autoparkplätze schräg (34°) zur Strassenfahrbahn links (Einbahn)
+ erhöhte Velowege links und rechts auf breiten Trottoirs

Parkiermanöver: 2: leichte Parkiermanöver ohne grosses "Ausholen".

 Parkiermanöver blockiert Autoverkehr: 2: Die nachfolgenden Autos müssen eine kurze Blockade beim Parkiermanöver in Kauf nehmen. Der Veloverkehr wird durch die Parkiermanöver nicht mehr tangiert.

Autotüren: 0: Die Autotüren gefährden niemanden.

Fussgängerdurchlässigkeit: 3: FussgängerInnen müssen nur noch ca. 1m zwischen den parkierten Autos überwinden.

Fussgänger - Velos (bei Verkehrsspitze): 2: relativ kleines Risiko, dass Fussgänger auf den Veloweg treten, weil die Bäume immer wieder die Trennung markieren.

Fussgänger - Velos in Gegenrichtung: 2: relativ kleines Risiko, dass Fussgänger auf den Veloweg treten, weil die Bäume immer wieder die Trennung markieren.

Autos - Velos: 0: Der Autoverkehr ist vom Veloverkehr getrennt.

Aussteigen: 0: Alle Autoinsassen der geparkten Autos haben genug Platz zum sicheren Aussteigen.

Tabelle: Bilanz der Gefährdungen bei schrägen Autoparkplätzen im Winkel von 34° links - erhöhte Velowege links und rechts
Gefährdungen bei Manövern


Gefährdungen der Verkehrsteilnehmer untereinander

Parkiermanöver leicht
2

Fussgänger - Auto 0
Parkiermanöver blockiert Autoverkehr kaum
2

Fussgänger - Velo / Fahrrad (bei Verkehrsspitze) 2
Parkiermanöver blockiert Veloverkehr / Fahrrad nicht
0

Auto - Velo / Fahrrad 0
Parkiermanöver blockiert Veloverkehr / Fahrrad in Gegenrichtung nicht
0

Auto-Velo / Fahrrad in Gegenrichtung 0



Aussteigen aus parkiertem Auto: leicht 0
Autotüren als Gefahr für Velos / Fahrrad: nein
0

Fussgängerdurchlässigkeit eher hoch 3
Autotüren als Gefahr für Velos in Gegenrichtung: nein
0






total Negativpunkte
9








Behindertenparkplatz: integrierbar
+


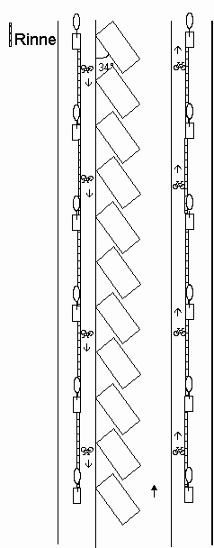
4. Autoparkplätze schräg (34°) zur Strassenfahrbahn rechts (Einbahnstrasse)
+ erhöhte Velowege links und rechts auf breiten Trottoirs

Strassenbreite: 20 Einheiten
Anzahl Parkplätze: 10,5

Parkplatzanordnung schräg im 34-Grad-Winkel
                        in Einbahnstrasse auf der rechten Seite, plus
                        erhöhte Velowege / Fahrradwege links und rechts
Parkplatzanordnung schräg im 34-Grad-Winkel in Einbahnstrasse auf der rechten Seite, plus erhöhte Velowege / Fahrradwege links und rechts.
4. Autoparkplätze schräg (34°) zur Strassenfahrbahn rechts (Einbahn)
+ erhöhte Velowege links und rechts auf breiten Trottoirs

Parkiermanöver: 2: leichte Parkiermanöver ohne grosses "Ausholen".

Parkiermanöver blockiert Autoverkehr: 2: Die nachfolgenden Autos müssen eine kurze Blockade beim Parkiermanöver in Kauf nehmen. Der Veloverkehr wird durch die  Parkiermanöver nicht mehr tangiert.

Autotüren: 0: Die Autotüren gefährden niemanden.

Fussgängerdurchlässigkeit: 3: FussgängerInnen müssen nur noch ca. 1m zwischen den parkierten Autos überwinden.

Fussgänger - Velos (bei Verkehrsspitze): 2: relativ kleines Risiko, dass Fussgänger auf den Veloweg treten, weil die Bäume immer wieder die Trennung markieren.

Fussgänger - Velos in Gegenrichtung: 2: relativ kleines Risiko, dass Fussgänger auf den Veloweg treten, weil die Bäume immer wieder die Trennung markieren.

Autos - Velos: 0: Der Autoverkehr ist vom Veloverkehr getrennt.

Aussteigen: 0: Alle Autoinsassen der geparkten Autos haben genug Platz zum sicheren Aussteigen.

Tabelle: Bilanz der Gefährdungen bei schrägen Autoparkplätzen im Winkel von 34° rechts - erhöhte Velowege links und rechts
Gefährdungen bei Manövern


Gefährdungen der Verkehrsteilnehmer untereinander

Parkiermanöver leicht
2

Fussgänger - Auto 0
Parkiermanöver blockiert Autoverkehr kaum
2

Fussgänger - Velo / Fahrrad (bei Verkehrsspitze) 2
Parkiermanöver blockiert Veloverkehr / Fahrrad nicht
0

Auto - Velo / Fahrrad 0
Parkiermanöver blockiert Veloverkehr / Fahrrad in Gegenrichtung nicht
0

Auto-Velo / Fahrrad in Gegenrichtung 0



Aussteigen aus parkiertem Auto: leicht 0
Autotüren als Gefahr für Velos / Fahrrad: nein
0

Fussgängerdurchlässigkeit eher hoch 3
Autotüren als Gefahr für Velos in Gegenrichtung: nein
0






total Negativpunkte
9








Behindertenparkplatz: integrierbar
+


5. Autoparkplätze schräg (34°) zur Strassenfahrbahn rechts (Einbahnstrasse)
+ erhöhter Veloweg rechts auf breitem Trottoir, + Velostreifen links


Strassenbreite: 19,5 Einheiten
Anzahl Parkplätze: 10,5

Parkplatzanordnung schräg im 34-Grad-Winkel
                        in Einbahnstrasse auf der rechten Seite,
                        erhöhter Veloweg / Fahrradweg rechts, auf der
                        linken Seite nur ein Velostreifen
Parkplatzanordnung schräg im 34-Grad-Winkel in Einbahnstrasse auf der rechten Seite, erhöhter Veloweg / Fahrradweg rechts, auf der linken Seite nur ein Velostreifen.
5. Autoparkplätze schräg (34°) zur Strassenfahrbahn rechts (Einbahn)
+ erhöhter Veloweg rechts auf breitem Trottoir, + Velostreifen links

Parkiermanöver: 2: leichte Parkiermanöver ohne grosses "Ausholen".

Parkiermanöver blockiert Autoverkehr: 2: Die nachfolgenden Autos müssen eine kurze Blockade beim Parkiermanöver in Kauf nehmen. Der Veloverkehr wird durch die Parkiermanöver kaum tangiert.

Parkiermanöver blockiert Veloverkehr in Gegenrichtung: 1: selten grosses "Ausholen" nötig. Ausserdem besteht Sichtkontakt.

Autotüren: 0: Die Autotüren gefährden niemanden.

Fussgängerdurchlässigkeit: 3: FussgängerInnen müssen nur noch ca. 1m zwischen den parkierten Autos überwinden.

Fussgänger - Velos (bei Verkehrsspitze): 2: relativ kleines Risiko, dass Fussgänger auf den Veloweg treten, weil die Bäume immer wieder die Trennung markieren.

Fussgänger - Velos in Gegenrichtung: 0: Velos sind auf der Strassenfahrbahn.

Autos - Velos: 0: Der Autoverkehr ist vom Veloverkehr getrennt.

Autos - Velos in Gegenrichtung: 8: VelofahrerInnen in Gegenrichtung sind durch das "Ausholen" beim Parkiermanöver kaum gefährdet, aber dafür durch ungeduldige Autos, die das Auto im Parkiermanöver über den Velostreifen überholen oder überholen wollen.

Aussteigen: 0: Alle Autoinsassen der geparkten Autos haben genug Platz zum sicheren Aussteigen.

Tabelle: Bilanz der Gefährdungen bei schrägen Autoparkplätzen im Winkel von 34° rechts - erhöhter Veloweg rechts - Velostreifen links
Gefährdungen bei Manövern


Gefährdungen der Verkehrsteilnehmer untereinander

Parkiermanöver leicht
2

Fussgänger - Auto 0
Parkiermanöver blockiert Autoverkehr kaum
2

Fussgänger - Velo / Fahrrad (bei Verkehrsspitze) 2
Parkiermanöver blockiert Veloverkehr / Fahrrad nicht
0

Auto - Velo / Fahrrad 0
Parkiermanöver blockiert Veloverkehr / Fahrrad in Gegenrichtung nicht
1

Auto-Velo / Fahrrad in Gegenrichtung 8



Aussteigen aus parkiertem Auto: leicht 0
Autotüren als Gefahr für Velos / Fahrrad: nein
0

Fussgängerdurchlässigkeit eher hoch 3
Autotüren als Gefahr für Velos in Gegenrichtung: nein
0






total Negativpunkte
18








Behindertenparkplatz: integrierbar
+


6. Autoparkplätze schräg (34°) zur Strassenfahrbahn links (Einbahnstrasse)
+ Velostreifen rechts, + erhöhter Veloweg links auf breitem Trottoir


Strassenbreite: 19,5 Einheiten
Anzahl Parkplätze: 10,5

Parkplatzanordnung schräg im 34-Grad-Winkel
                        in Einbahnstrasse links, erhöhter Veloweg links,
                        auf der rechten Seite nur Velostreifen
Parkplatzanordnung schräg im 34-Grad-Winkel in Einbahnstrasse links, erhöhter Veloweg links, auf der rechten Seite nur Velostreifen.
6. Autoparkplätze schräg (34°) zur Strassenfahrbahn links (Einbahn)
+ Velostreifen rechts, + erhöhter Veloweg links auf breitem Trottoir

Parkiermanöver: 2: leichte Parkiermanöver ohne grosses "Ausholen".
 
Parkiermanöver blockiert Autoverkehr: 2: Die nachfolgenden Autos müssen eine kurze Blockade beim Parkiermanöver in Kauf nehmen.

Parkiermanöver blockiert Veloverkehr: 2: Der Veloverkehr wird durch die Parkiermanöver kaum tangiert.

Parkiermanöver blockiert Veloverkehr in Gegenrichtung: 0: Velos des Gegenverkehrs sind auf breitem Trottoir.

Autotüren: 0: Die Autotüren gefährden niemanden.

Fussgängerdurchlässigkeit: 3: FussgängerInnen müssen nur noch ca. 1m zwischen den parkierten Autos überwinden.

Fussgänger - Velos: 0: Velos sind auf der Strassenfahrbahn.

Fussgänger - Velos in Gegenrichtung (bei Verkehrsspitze): 2: relativ kleines Risiko, dass Fussgänger auf den Veloweg treten, weil die Bäume immer wieder die Trennung markieren.

Autos - Velos: 8: VelofahrerInnen sind durch das "Ausholen" beim Parkiermanöver kaum gefährdet, aber dafür durch ungeduldige Autos, die das Auto im Parkiermanöver über den Velostreifen überholen oder überholen wollen.

Autos - Velos in Gegenrichtung: 0: Velos des Gegenverkehrs sind auf breitem Trottoir.

Aussteigen: 0: Alle Autoinsassen der geparkten Autos haben genug Platz zum sicheren Aussteigen.

Tabelle: Bilanz der Gefährdungen bei schrägen Autoparkplätzen im Winkel von 34° rechts - erhöhter Veloweg links- Velostreifen rechts
Gefährdungen bei Manövern


Gefährdungen der Verkehrsteilnehmer untereinander

Parkiermanöver leicht
2

Fussgänger - Auto 0
Parkiermanöver blockiert Autoverkehr kaum
2

Fussgänger - Velo / Fahrrad (bei Verkehrsspitze) 2
Parkiermanöver blockiert Veloverkehr / Fahrrad nicht
2

Auto - Velo / Fahrrad 8
Parkiermanöver blockiert Veloverkehr / Fahrrad in Gegenrichtung nicht
0

Auto-Velo / Fahrrad in Gegenrichtung 0



Aussteigen aus parkiertem Auto: leicht 0
Autotüren als Gefahr für Velos / Fahrrad: nein
0

Fussgängerdurchlässigkeit eher hoch 3
Autotüren als Gefahr für Velos in Gegenrichtung: nein
0






total Negativpunkte
19








Behindertenparkplatz: integrierbar
+


7. Autoparkplätze schräg (34°) zur Strassenfahrbahn rechts (Einbahnstrasse)
mit Balkenbegrenzung
+ Velostreifen zwischen Parkplätzen und Trottoir, + Velostreifen links


Strassenbreite: 19,5 Einheiten
Anzahl Parkplätze: 10,5

Parkplatzanordnung schräg im 34-Grad-Winkel
                        in Einbahnstrasse rechts mit Balkenbegrenzung,
                        Velostreifen zwischen Parkplätzen und Trottoir
                        rechts, Velostreifen links
Parkplatzanordnung schräg im 34-Grad-Winkel in Einbahnstrasse rechts mit Balkenbegrenzung, Velostreifen zwischen Parkplätzen und Trottoir rechts, Velostreifen links.
7. Autoparkplätze schräg (34°) zur Strassenfahrbahn rechts (Einbahn)
mit Balkenbegrenzung
+ Velostreifen zwischen Parkplätzen und Trottoir, + Velostreifen links

Parkiermanöver: 2: leichte Parkiermanöver ohne grosses "Ausholen".

 Parkiermanöver blockiert Autoverkehr: 2: Die nachfolgenden Autos müssen eine kurze Blockade beim Parkiermanöver in Kauf nehmen.

Parkiermanöver blockiert Veloverkehr: 0: Der Veloverkehr ist zwischen Parkplätzen und Trottoirkante.

Parkiermanöver blockiert Veloverkehr in Gegenrichtung: 1: selten grosses "Ausholen" nötig. Ausserdem besteht Sichtkontakt.

Autotüren: 0: Die Autotüren gefährden niemanden.

Fussgängerdurchlässigkeit: 3: FussgängerInnen müssen nur noch ca. 1m zwischen den parkierten Autos überwinden.

Fussgänger - Velos: 0: Velos sind auf der Strassenfahrbahn.

Fussgänger - Velos in Gegenrichtung: 0: Velos sind auf der Fahrbahn.

Autos - Velos in Gegenrichtung: 8: VelofahrerInnen in Gegenrichtung sind durch das "Ausholen" beim Parkiermanöver kaum gefährdet, aber dafür durch ungeduldige Autos, die das Auto im Parkiermanöver über den Velostreifen überholen oder überholen wollen

Aussteigen: 0: Alle Autoinsassen der geparkten Autos haben genug Platz zum sicheren Aussteigen.

Aussteigende AutofahrerInnen - Velos: 3: Die aussteigenden AutofahrerInnen müssen sich daran gewöhnen, dass lautlose Velos an ihnen auf der Trottoirseite vorbeifahren.

Pluspunkt: Die Trottoirkante rechts ist problemlos auf 2cm absenkbar, (Risiko Fussgänger - Velos: Stufe 1), oder man kann sie sogar ganz weglassen (Risiko Fussgänger - Velos: Stufe 2).

Tabelle: Bilanz der Gefährdungen bei schrägen Autoparkplätzen im Winkel von 34° rechts mit Balkenbegrenzungen - Velostreifen zwischen Parkplätzen und Trottoir - Velostreifen links
Gefährdungen bei Manövern


Gefährdungen der Verkehrsteilnehmer untereinander

Parkiermanöver leicht
2

Fussgänger - Auto 0
Parkiermanöver blockiert Autoverkehr kaum
2

Fussgänger - Velo / Fahrrad 0
Parkiermanöver blockiert Veloverkehr / Fahrrad
0

Auto - Velo / Fahrrad 0
Parkiermanöver blockiert Veloverkehr / Fahrrad in Gegenrichtung
1

Auto-Velo / Fahrrad in Gegenrichtung 8



Aussteigen aus parkiertem Auto 0
Autotüren als Gefahr für Velos / Fahrrad: nein
0

Aussteigende AutofahrerInnen - Velos / Fahrrad
3
Autotüren als Gefahr für Velos in Gegenrichtung: nein
0

Fussgängerdurchlässigkeit eher hoch 3



total Negativpunkte
19








Behindertenparkplatz: integrierbar
+



Trottoirkante rechts auf 2cm absenkbar
+


8. Autoparkplätze schräg (34°) zur Strassenfahrbahn rechts (Einbahnstrasse)
mit Balkenbegrenzung
+ Velostreifen rechts zwischen Parkplätzen und Trottoir
+ erhöhter Veloweg links auf breitem Trottoir


Strassenbreite: 20 Einheiten
Anzahl Parkplätze: 10,5

Parkplatzanordnung schräg im 34-Grad-Winkel
                        rechts mit Balkenbegrenzung, Velostreifen rechts
                        zwischen Parkplätzen und Trottoir, erhöhter
                        Veloweg links auf breitem Trottoir
Parkplatzanordnung schräg im 34-Grad-Winkel rechts mit Balkenbegrenzung, Velostreifen rechts zwischen Parkplätzen und Trottoir, erhöhter Veloweg links auf breitem Trottoir.
8. Autoparkplätze schräg (34°) zur Strassenfahrbahn rechts (Einbahn)
mit Balkenbegrenzung
+ Velostreifen rechts zwischen Parkplätzen und Trottoir
+ erhöhter Veloweg links auf breitem Trottoir

Parkiermanöver: 2: leichte Parkiermanöver ohne grosses "Ausholen".

 Parkiermanöver blockiert Autoverkehr: 2: Die nachfolgenden Autos müssen eine kurze Blockade beim Parkiermanöver in Kauf nehmen.

Parkiermanöver blockiert Veloverkehr: 0: Der Veloverkehr ist zwischen Parkplätzen und Trottoirkante.

Parkiermanöver blockiert Veloverkehr in Gegenrichtung: 0: Velos sind auf breitem Trottoir.

Autotüren: 0: Die Autotüren gefährden niemanden.

Fussgängerdurchlässigkeit: 3: FussgängerInnen müssen nur noch ca. 1m zwischen den parkierten Autos überwinden.

Fussgänger - Velos: 0: Velos sind auf der Strassenfahrbahn.

Fussgänger - Velos in Gegenrichtung (bei Verkehrsspitze): 2: relativ kleines Risiko, dass Fussgänger auf den Veloweg treten, weil die Bäume immer wieder die Trennung markieren.

Autos - Velos in Gegenrichtung: 0: VelofahrerInnen in Gegenrichtung sind auf breitem Trottoir

Aussteigen: 0: Alle Autoinsassen der geparkten Autos haben genug Platz zum sicheren Aussteigen.

Aussteigende AutofahrerInnen - Velos: 3: Die aussteigenden AutofahrerInnen müssen sich daran gewöhnen, dass lautlose Velos an ihnen auf der Trottoirseite vorbeifahren.

Pluspunkt: Die Trottoirkante rechts ist problemlos auf 2cm absenkbar (Risiko Fussgänger - Velos: Stufe 1), oder man kann sie sogar ganz weglassen (Risiko Fussgänger - Velos: Stufe 2).

Tabelle: Bilanz der Gefährdungen bei schrägen Autoparkplätzen im Winkel von 34° rechts mit Balkenbegrenzungen - Velostreifen zwischen Parkplätzen und Trottoir - erhöhter Veloweg links
Gefährdungen bei Manövern


Gefährdungen der Verkehrsteilnehmer untereinander

Parkiermanöver leicht
2

Fussgänger - Auto 0
Parkiermanöver blockiert Autoverkehr kaum
2

Fussgänger - Velo / Fahrrad (bei Verkehrsspitze) 2
Parkiermanöver blockiert Veloverkehr / Fahrrad
0

Auto - Velo / Fahrrad 0
Parkiermanöver blockiert Veloverkehr / Fahrrad in Gegenrichtung
0

Auto-Velo / Fahrrad in Gegenrichtung 0



Aussteigen aus parkiertem Auto 0
Autotüren als Gefahr für Velos / Fahrrad: nein
0

Aussteigende AutofahrerInnen - Velos / Fahrrad
3
Autotüren als Gefahr für Velos in Gegenrichtung: nein
0

Fussgängerdurchlässigkeit eher hoch 3



total Negativpunkte
12








Behindertenparkplatz: integrierbar
+



Trottoirkante rechts auf 2cm absenkbar
+


9. Autoparkplätze schräg (34°) in Doppelreihe in Strassenmitte mit Balkenbegrenzung
+ erhöhte Velowege links und rechts auf breiten Trottoirs
mit Kante 2cm


Strassenbreite: 27 Einheiten
Anzahl Parkplätze: 20

Parlplatzanordnung schräg im 34-Grad-Winkel
                        in Doppelreihe in Strassenmitte mit
                        Balkenbegrenzung, erhöhte Velowege / Fahrradwege
                        auf beiden Seiten
Parlplatzanordnung schräg im 34-Grad-Winkel in Doppelreihe in Strassenmitte mit Balkenbegrenzung, erhöhte Velowege / Fahrradwege auf beiden Seiten.
9. Autoparkplätze schräg (34°) in Doppelreihe in Strassenmitte mit Balkenbegrenzung
+ erhöhte Velowege links und rechts auf breiten Trottoirs
mit Kante 2cm

Parkiermanöver: 2: leichte Parkiermanöver ohne grosses "Ausholen".
 
Parkiermanöver blockiert Autoverkehr: 2: Die nachfolgenden Autos müssen eine kurze Blockade beim Parkiermanöver in Kauf nehmen.

Parkiermanöver blockiert Veloverkehr: 0: Der Veloverkehr ist auf erhöhtem Veloweg.

Parkiermanöver blockiert Veloverkehr in Gegenrichtung: 0: Velos ist auf erhöhtem Veloweg.

Autotüren: 0: Die Autotüren gefährden niemanden, ausser die Autos, die nebendran stehen.

Fussgängerdurchlässigkeit: 8: FussgängerInnen müssen auf einer ganzen Autolänge zwischen den parkierten Autos durch.

Gefährdungen:
Fussgänger - Velos: 1: kleines Risiko, dass Fussgänger auf den Veloweg treten, weil die Bäume immer wieder die Trennung markieren und die Kante von 2cm auch physisch die Trennung vermittelt.

Fussgänger - Velos in Gegenrichtung (bei Verkehrsspitze): 1: kleines Risiko, dass Fussgänger auf den Veloweg treten, weil die Bäume immer wieder die Trennung markieren und die Kante von 2cm auch physisch die Trennung vermittelt.

Autos - Velos in Gegenrichtung: 0: VelofahrerInnen in Gegenrichtung sind auf erhöhtem Veloweg.

Aussteigen: 8: Auf einer Seite besteht jeweils nur enger Platz zum Aussteigen aus dem Auto.

Aussteigende AutofahrerInnen - Velos: 0.


Tabelle: Bilanz der Gefährdungen bei schrägen Autoparkplätzen in Doppelreihe im Winkel von 34° in der Strassenmitte mit Balkenbegrenzungen - erhöhte Velowege links und rechts
Gefährdungen bei Manövern


Gefährdungen der Verkehrsteilnehmer untereinander

Parkiermanöver leicht
2

Fussgänger - Auto 0
Parkiermanöver blockiert Autoverkehr kaum
2

Fussgänger - Velo / Fahrrad (bei Verkehrsspitze) 2
Parkiermanöver blockiert Veloverkehr / Fahrrad
0

Auto - Velo / Fahrrad 0
Parkiermanöver blockiert Veloverkehr / Fahrrad in Gegenrichtung
0

Auto-Velo / Fahrrad in Gegenrichtung 0



Aussteigen aus parkiertem Auto 8
Autotüren als Gefahr für Velos / Fahrrad: nein
0

Aussteigende AutofahrerInnen - Velos / Fahrrad
0
Autotüren als Gefahr für Velos in Gegenrichtung: nein
0

Fussgängerdurchlässigkeit kaum 8



total Negativpunkte
22








Behindertenparkplatz: kaum integrierbar
-



Trottoirkanten nicht auf 2cm absenkbar
-
g

10. Autoparkplätze schräg (34°) zur Strassenfahrbahn (Einbahnstrasse)
mit Versatz rechts - links
+ erhöhte Velowege auf breiten Trottoirs rechts und links

Parkplatzanordnung schräg im 34-Grad-Winkel
                        in Einbahnstrasse im Versatz, erhöhte Velowege
                        beidseits ohne Versatz
Parkplatzanordnung schräg im 34-Grad-Winkel in Einbahnstrasse im Versatz, erhöhte Velowege beidseits ohne Versatz.

Die VelofahrerInnen können geradeaus fahren, der Autoverkehr muss die Strassenseite wechseln.
11. Autoparkplätze schräg (34°) zur Strassenfahrbahn (Einbahnstrasse)
mit doppeltem Versatz rechts - links - rechts
+ erhöhte Velowege auf breiten Trottoirs rechts und links


Strassenbreite: 20 Einheiten
Anzahl Parkplätze: 10,5
Parkplatzanordnung schräg im 34-Grad-Winkel
                        in Einbahnstrasse im doppelten Versatz, erhöhte
                        Velowege ohne Versatz
Parkplatzanordnung schräg im 34-Grad-Winkel in Einbahnstrasse im doppelten Versatz, erhöhte Velowege ohne Versatz.


Die VelofahrerInnen können geradeaus fahren, der Autoverkehr muss zweimal die Strassenseite wechseln.
12. Fussgängerstreifen und Übergangslücke bei Einbahnstrasse
mit schrägen Autoparkplätzen rechts (34°)
+ erhöhte Velowege auf breiten Trottoirs rechts und
links
Parkplatzanordnung schräg im 34-Grad-Winkel
                        in Einbahnstrasse rechts, erhöhte Velowege,
                        erhöhter Fussgängerstreifen und einfacher
                        Fussgängerübergang
Parkplatzanordnung schräg im 34-Grad-Winkel in Einbahnstrasse rechts, erhöhte Velowege, erhöhter Fussgängerstreifen und einfacher Fussgängerübergang.


Es ergibt sich eine sehr grosse Fläche für FussgängerInnen im Bereich des erhöhten Fussgängerstreifens sowie der Übergangslücke. Der Fussgängerstreifen trennt Velo- und Autoverkehr.
13. Fussgängerstreifen und Übergangslücke bei Einbahnstrasse
mit schrägen Autoparkplätzen rechts (34°)
+ erhöhter Veloweg rechts, Velostreifen links
Parkplatzanordnung schräg im 34-Grad-Winkel
                      in Einbahnstrasse rechts, erhöhter Veloweg rechts,
                      Velostreifen links, erhöhter Fussgängerstreifen
                      und einfacher Fussgängerübergang
Parkplatzanordnung schräg im 34-Grad-Winkel in Einbahnstrasse rechts, erhöhter Veloweg rechts, Velostreifen links, erhöhter Fussgängerstreifen und einfacher Fussgängerübergang.

Es ergibt sich eine sehr grosse Fläche für FussgängerInnen im Bereich des erhöhten Fussgängerstreifens sowie der Übergangslücke. Der Veloverkehr über den erhöhten Fussgängerstreifen hat eine sanftere Schwelle als der motorisierte Verkehr.

Teilen:

Facebook







^